Отзывов:
2
используется в органах Государственной метрологической службы и в метрологических лабораториях юридических лиц и представляет собой единый метрологический комплекс.
Скачать программное обеспечение
| ТУ 50-96 ДДШ 1.270.003 ТУ
Установка для поверки и градуировки датчиков температуры УПСТ-2М предназначена:
Установка обеспечивает одновременную поверку и градуировку 8 преобразователей термоэлектрических и 10 термопреобразователей сопротивления.
Установка для поверки и градуировки датчиков температуры УПСТ-2М полностью заменяет серийно выпускаемые установки УПСТ-1, УПСТ-2 и УТТ-6 и обладает следующими преимуществами:
В качестве устройств воспроизведения температур в установке для поверки и градуировки датчиков температуры УПСТ-2М используются термостаты и печи. Поставляемые в составе термостатов (кроме нулевого и парового) и печей регуляторы температуры обеспечивают независимое задание и автоматическое поддержание заданных температурных режимов в печах или термостатах, что создает удобство при эксплуатации.
В качестве измерительного прибора используется измеритель В7-99.
При использовании В7-99 c программой автоматизации УПСТ поверка термоэлектрических преобразователей по ГОСТ 8.338-2002 проводится в полуавтоматическом режиме.
Программа автоматизации УПСТ формирует протокол поверки.
ОПИСАНИЕ АВТОМАТИЗАЦИИ ПРОГРАММЫ УПСТ (для В7-99):
Программа руководит действиями пользователя по коммутации входов БИ-1, снимает показания с измерителя В7-99, накапливает данные измерений при проведении поверки и формирует протокол поверки, сохраняя результаты в базе данных для последующего просмотра.
Наряду с прецизионным милливольтметром, печами и термостатами основными элементами установки для поверки и градуировки датчиков температуры УПСТ-2М являются блоки измерительные БИ-1 и БИ-2.
Блок измерительный БИ-1 предназначен для коммутации измерительных цепей при поверке и градуировке преобразователей термоэлектрических.
Блок измерительный БИ-2 предназначен для регулирования тока и коммутации измерительных цепей при поверке и градуировке термопреобразователей сопротивления.Для уменьшения перепада (градиента) температуры в рабочей зоне печь МТП-2МР-50-500 может использоваться совместно с никелевыми выравнивающими блоками. Предприятие может поставлять выравнивающие блоки, изготовленные по эскизу потребителя, либо блоки-заготовки, в которых потребитель может самостоятельно высверливать отверстия под конкретные датчики температуры.
| Характеристики | УПСТ-2М |
|
Диапазон воспроизводимых температур, °С |
в пределах 0…1200, зависит от термостатов и печей, входящих в состав конкретной УПСТ-2М |
| Применяемый прецизионный измеритель напряжения | измеритель В7-99* |
| Количество одновременно поверяемых (калибруемых, градуируемых) датчиков, шт.: | |
| - преобразователей термоэлектрических | до 8 |
| - термопреобразователей сопротивления | до 10 |
| Вид климатического исполнения по ГОСТ 15150-69 | УХЛ4.1 |
| Температура окружающего воздуха, °С | 20±5 |
| Питание | ~ 220 В; 50 Гц |
|
Габаритные размеры, масса и потребляемая мощность термостатов, печей, измеритель В7-99 и др. составных частей УПСТ-2М – см. соответствующие описание в разделе “МЕТРОЛОГИЧЕСКОЕ ОБОРУДОВАНИЕ” * при необходимости вместо В7-99 может использоваться любой тип вольтметра постоянного тока класса точности не более 0,01 на пределе измерения 100 мВ и с разрешающей способностью не более 1 мкВ |
|
| Характеристики | Блок измерительный | |
| БИ-1 | БИ-2 | |
| Вид климатического исполнения по ГОСТ 15150-69 | УХЛ4.1 | |
| Температура окружающего воздуха, °С | 20±5 | |
| Питание | не требует | ~ 220 В; 50 Гц |
| Потребляемая мощность**, Вт, не более | - | 10 |
| Габаритные размеры**, мм, не более | 242х132х470 | |
| Масса**, кг, не более | 5 | 6,5 |

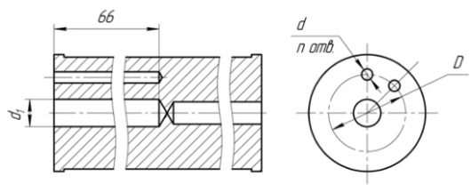
Рис.1 Блок выравнивающий

Рис.2 Остальное - см. рис.1
Устанавливает потребитель при заказе:
- размеры (d, d1),
- взаимное расположение (D),
- количество отверстий (n)
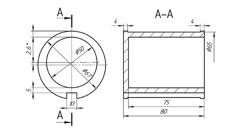
Рис.3
Остальное - см. рис.1
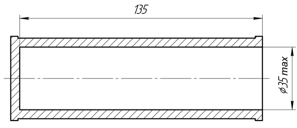
Рис.4 Блок выравнивающий МКСН.715131.014
Блок выравнивающий для печи МТП-2МР-70-1000 имеет длину 80 мм. и изготавливается в одном исполнении типа стакана МКСН.715131.014 (рис.4)
Более сорока лет ФГУП «Всероссийский научно-исследовательский институт метрологии им.Д.И. Менделеева» тесно сотрудничает с ОАО «НПП «Эталон». За это время мы убедились, что ОАО «НПП «Эталон» является примером успешно работающего предприятия, имеющего сильный состав конструкторского бюро, создающего импортозамещающую высокотехнологическую продукцию.
Наше сотрудничество сыграло важную роль в создании государственных первичных и военных эталонов единиц теплофизических величин. Именно участие ОАО «НПП «Эталон» сыграло важную роль в модернизации Государственного первичного эталона единицы температуры ГЭТ 34-2021, Государственного первичного эталона единицы теплопроводности ГЭТ59-2007, Государственного первичного эталона единицы температурного коэффициента линейного расширения твердых тел ГЭТ 24-2007, а также осуществить модернизацию Военного эталона единицы энергетической яркости по инфракрасному излучению.
Мы надеемся, что наше плодотворное сотрудничество продолжится, и будет способствовать дальнейшему развитию отечественного приборостроения.
С уважением,
руководитель отдела эталонов и научных
исследований в области термодинамики А.И.Походун
28.05.24
От лица компании ООО “Самур” хочу выразить Вам благодарность и уважение. На протяжении всего периода взаимодействия и по настоящее время продукция компании отличалась высоким качеством, а поставки своевременностью,
Желаю дальнейших успехов и возлагаем надежды на дальнейшее взаимовыгодное совместное сотрудничество.
Директор ООО «САМУР» Носков Евгений Юрьевич
14.05.24
Архив документов:
Комплектность УПСТ-2М:
|
Наименование оборудования |
Кол-во |
Примечание |
|
Блок измерительный 1 (БИ-1) |
1 |
при работе с преобразователями термоэлектрическими |
|
Блок измерительный 2 (БИ-2) |
1 |
при работе с термопреобразователями сопротивления |
|
1 |
Диапазон измеряемых напряжений постоянного тока -300…+300 мВ |
|
|
1 |
Диапазон воспроизводимых температур 0 °С |
|
|
1 |
Диапазон воспроизводимых температур 100 °С |
|
|
2 |
Диапазон воспроизводимых температур +100...+1200 °С |
|
|
1 |
Диапазон измеряемых температур 300...1200 °С |
|
|
Термостат нулевой ДДШ 5.868.003 |
2 |
Для компенсации холодных концов |
|
Документация |
1 к-т |
|
|
Поставляется дополнительно (при необходимости) |
||
| Печь МТП-2МР-70-1000 | Диапазон воспроизводимых температур +100...+1200 °С | |
|
Диапазон измеряемых температур 300...1200 °С |
||
|
Диапазон воспроизводимых температур |
||
|
Диапазон воспроизводимых температур +40...+200 °С |
||
|
Диапазон воспроизводимых температур +300...+1600 °С |
||
|
Диапазон измеряемых температур 600... 1800 °С |
||
|
Диапазон измеряемых температур |
||
|
типа стакана |
||
|
* Возможно использовать измеритель В7-99 с расширенными функциями ПО. |
||
ПРИМЕР ЗАПИСИ ПРИ ЗАКАЗЕ:
“Установка УПСТ-2М в комплекте:
09.06.2025
Сотрудники АО «НПП «Эталон» присоединились к участникам праздника «ВелоОмск — 2025»
Читать подробнее
06.06.2025
АО «НПП «Эталон»: признание от партнеров АО «Медтехника»
Читать подробнее
05.06.2025
АО «НПП «Эталон» принимает участие в научной конференции «Актуальные проблемы и перспективы развития геокриологии» г. Мирный
Читать подробнее