Продукция
Услуги
О предприятии
Документация и ПО
Пресс-Центр
Контакты
Связаться с нами
Продукция
Услуги
О предприятии
Документация и ПО
Пресс-Центр
Контакты
+7 (3812) 36-84-00
Связаться с нами
Главная
Каталог продукции
Системы температурного мониторинга мерзлых, промерзающих и протаивающих грунтов
Варианты обустройства термометрических скважин
Каталог продукции
Скачать каталог
Системы температурного мониторинга мерзлых, промерзающих и протаивающих грунтов
Варианты обустройства термометрических скважин
Комплекты реализации системы температурного мониторинга грунтов
Шкафы сбора и передачи данных ШСПД
ТЕРМОКОСЫ серии МЦДТ (термометрическая коса)
ПОРТАТИВНЫЕ КОНТРОЛЛЕРЫ и сопутствующее оборудование для термокос
СТАЦИОНАРНЫЕ КОНТРОЛЛЕРЫ и сопутствующее оборудование для термокос
ЛОГГЕРЫ и сопутствующее оборудование для термокос
Акт о завершении двухлетних испытаний логгеров и термокос в центре ИСО ОАО РЖД
Отзывы по системе температурного мониторинга грунтов
Датчики температуры
Преобразователи термоэлектрические (термопары)
Эталонные ППО / ПРО
ТПП(S) / ТПР(В)
ТХА(К) / ТХК(L) / ТЖК(J)
Термопреобразователи сопротивления
Эталонные ТС
ТСП / ТСМ
Комплекты ТС
Термопреобразователи с унифицированным выходным сигналом
Эталонные термопреобразователи
Термочувствительные вставки
Чувствительные элементы термометров сопротивления
Цифровые датчики температуры
Датчики теплового потока
Арматура для датчиков температуры (гильзы, детали)
Метрологическое оборудование
Эталонные датчики температуры
Прецизионные вольтметры
Установки для поверки датчиков температуры
Оборудование для поверки средств линейно-угловых измерений
Печи, Калибраторы, Термостаты, Криостаты
Печи
Метрологическое оборудование для воспроизведения реперных точек температурной шкалы МТШ-90
Калибраторы температуры
Термостаты
Криостаты
Вспомогательное оборудование для поверки датчиков температуры
Пирометры и АЧТ и ПЧТ модели
Пирометры
АЧТ и ПЧТ модели
Измерители-регуляторы
Измерители электрических и теплофизических величин
Измерители-регуляторы
Вспомогательное оборудование для измерителей и регуляторов температуры
Инфракрасные термопреобразователи для измерения температуры расплавов металлов
Беспроводные измерительные системы
Фильтры на ПАВ и СВЧ устройства
Фильтры на ПАВ и ПАВ-микросборки
СВЧ устройства
Разработка на заказ
Готовая продукция на складе
Задать вопрос
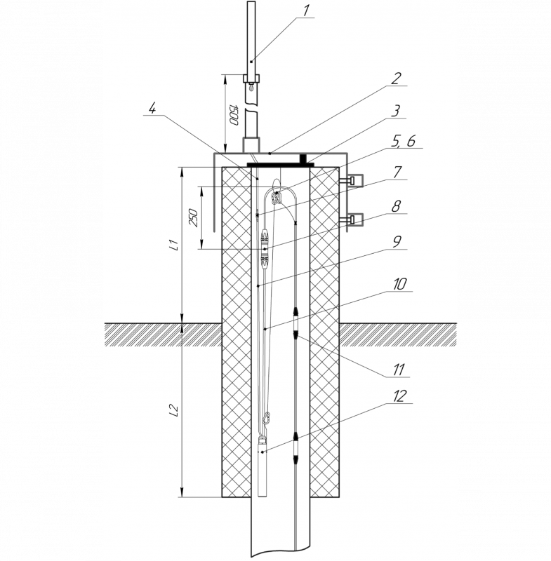
Варианты организации геотехнического мониторинга объектов
Классические термометрические скважины с логгером ЛЦД-2-USB
Термометрическая скважина с радиологгером ЛЦД-1/100-РМ
Термометрическая скважина с логгером ЛЦД-2-USB
Термометрическая скважина с логгером ЛЦД-2-RМ, ЛЦД-2-GSM, ЛЦД-2-LoRa