Связаться с нами
  • Термометрическая скважина с логгером ЛЦД-2-USB
  • Отзывов: 0
    Добавить отзыв
    Термометрическая скважина с логгером ЛЦД-2-USB
    Цена и срок изготовления по запросу

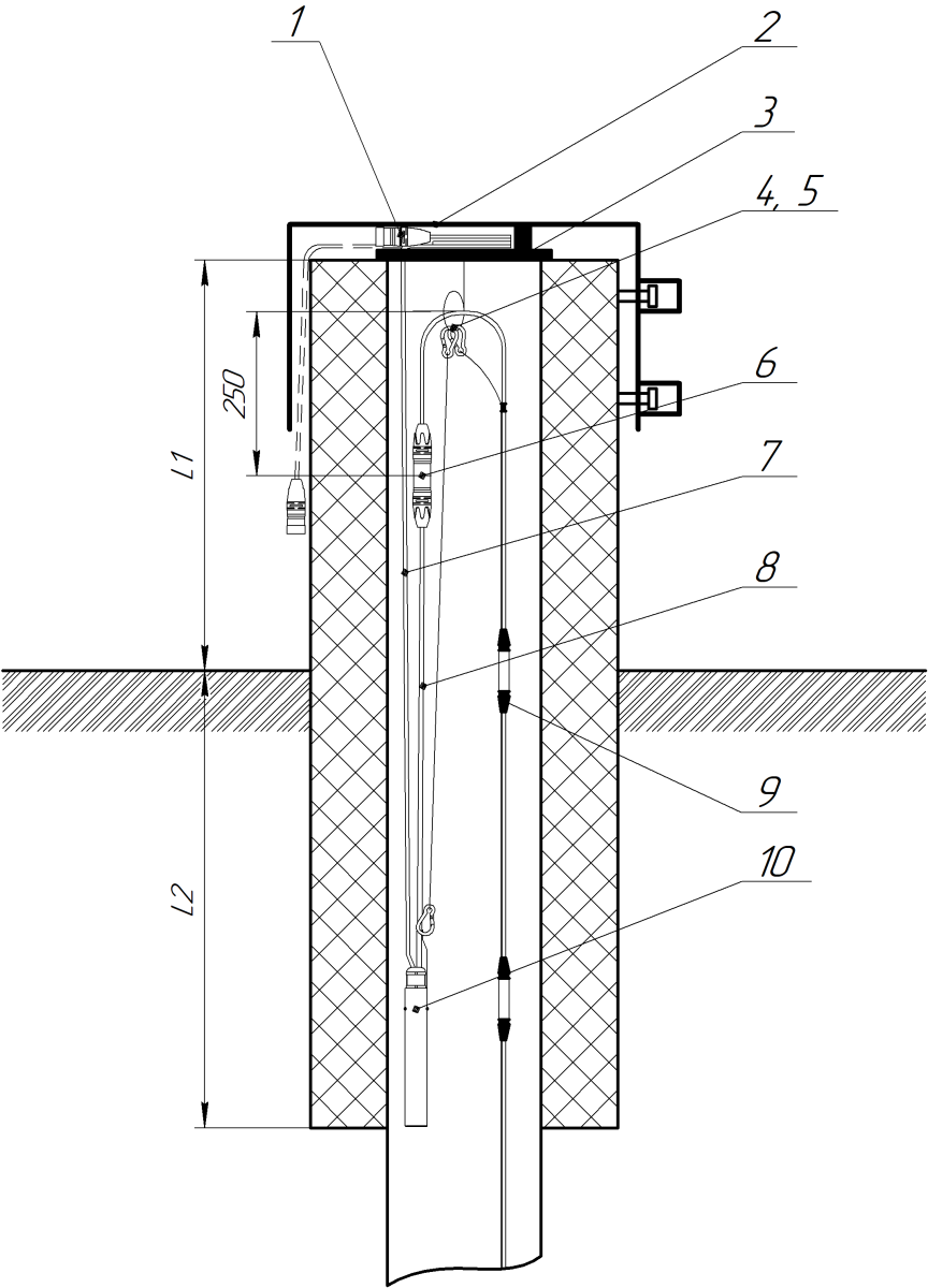
1 – внешний USB разъем

2 – оголовок ООТ-0922

3 – Элемент крепления ЭК-0922

4 – карабин троса ЛЦД-2

5 – карабин троса термокосы

6 – соединение термокосы и логгера

7 – кабель внешнего USB разъема

8 – термокосный кабель ЛЦД-2

9 – термокоса МЦДТ 0922

10 – ЛЦД-2

L1 – высота скважины от уровня земли

L2 – глубина обсадной трубы от уровня земли



Отзывы




Заказать Термометрическая скважина с логгером ЛЦД-2-USB в ОМСКЕ Для определения стоимости оборудования, комплектности и сроков поставки в г . Омске, пожалуйста, скачайте опросный лист, заполните его и прикрипите к форме заявки.

Специалисты отдела продаж ответят на Ваш запрос в течении одного рабочего дня.
Сделать заказ
Файл с реквизитами: Файл с техническими характеристиками:
CAPTCHA
Оставить отзыв
Прикрепить файл (PDF):
CAPTCHA
Задать вопрос
CAPTCHA