Связаться с нами
  • Термометрическая скважина с логгером ЛЦД-2-RМ, ЛЦД-2-GSM, ЛЦД-2-LoRa
  • Отзывов: 0
    Добавить отзыв
    Термометрическая скважина с логгером ЛЦД-2-RМ, ЛЦД-2-GSM, ЛЦД-2-LoRa
    Цена и срок изготовления по запросу

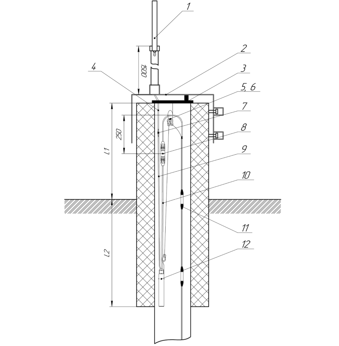
1 – антенна логгера 
2 – оголовок ООТ-0922-РМ 
3 – Элемент крепления ЭК-0922 
4 – радиочастотный кабель антенны 
5 – карабин троса ЛЦД-2 
6 – карабин троса термокосы 
7 – соединение радиочастотного кабеля

8 – соединение термокосы и логгера
9 – радичастотный кабель ЛЦД-2
10 – термокосный кабель ЛЦД-2
11 – термокоса МЦДТ 0922
12 – ЛЦД-2
L1 – высота скважины от уровня земли 
L2 – глубина обсадной трубы от уровня земли



Отзывы




Заказать Термометрическая скважина с логгером ЛЦД-2-RМ, ЛЦД-2-GSM, ЛЦД-2-LoRa в ОМСКЕ Для определения стоимости оборудования, комплектности и сроков поставки в г . Омске, пожалуйста, скачайте опросный лист, заполните его и прикрипите к форме заявки.

Специалисты отдела продаж ответят на Ваш запрос в течении одного рабочего дня.
Сделать заказ
Файл с реквизитами: Файл с техническими характеристиками:
CAPTCHA
Оставить отзыв
Прикрепить файл (PDF):
CAPTCHA
Задать вопрос
CAPTCHA