Отзывов:
0
для автономного сбора данных: считывает и хранит данные о температуре с термокос серии МЦДТ
передачи данных: передает собранные данные на принимающее устройство по USB кабелю
Программное обеспечение на ЛЦД-2-USB
Вариант обустройства термометрической скважины с логгером ЛЦД-2-USB
| МКСН.405544.037 ТУ
ОБЛАСТЬ ПРИМЕНЕНИЯ:
• геотехнический мониторинг;
• нефтяная и газовая промышленности;
• машиностроение;
• метеорология;
• строительство;
• энергетика и др.
ДОСТОИНСТВА:
• увеличение времени работы без замены элемента питания
• повышенная степень защиты от пыли и воды IP68
• надежная встроенная flаsh-память
НАЗНАЧЕНИЕ:
Логгер цифровых датчиков ЛЦД-2-USB (далее – логгер) предназначен:
• для автономного считывания результатов измерений температуры с датчиков температуры многозонных цифровых МЦДТ (далее – термокоса) с заданной периодичностью,
• для хранения результатов измерений и передачи на принимающее устройство.
Логгер может применяться при проведении измерений с целью определения распределения температуры протяженных объектов, трубопроводов, а также грунта.
Логгер температуры ЛЦД-2-USB:
• сохраняет результаты измерений температуры во внутреннюю энергонезависимую память,
• передает данные на ПК посредством USB интерфейса;
УСЛОВИЯ ЭКСПЛУАТАЦИИ:
|
температура воздуха при долговременной эксплуатации, °C |
-40 ... +40 |
|
относительная влажность воздуха при 35ºС, % |
80 |
|
ТЕХНИЧЕСКИЕ ХАРАКТЕРИСТИКИ |
ЛЦД-2-USB |
|
Габаритные размеры, мм, не более |
Ø 37 х 278 |
|
Масса логгера, кг, не более |
0,75 |
|
Напряжение питания постоянного тока, В |
7,2 (5,6...7,4) |
|
Ток потребления в режиме ожидания, мкА, не более |
10 |
|
Период проведения измерений (настраивается пользователем), часов |
от 1 до 100 |
|
Количество датчиков в термокосе |
1 ... 100 |
|
Максимальная длина термокосы должна быть, м |
100 |
|
Электрическая емкость термокосы, пФ, не более |
15 000 |
|
Суточный ход часов логгера в нормальных условиях, с/сут, не более |
±10 |
|
Суточный ход часов логгера во всем диапазоне рабочих температур и влажности, с/сут, не более |
±25 |
|
Время непрерывной работы без замены элемента питания*, лет, не менее |
3 |
|
Максимальное количество значений |
65 535 |
|
Запись результатов измерений, интерфейс |
энергонезависимая память, USB порт |
|
Степень защиты от пыли и воды по ГОСТ 14254-96 |
IР68 |
|
Средняя наработка до отказа, часов |
35 000 |
|
Средний срок службы, лет |
7 |
|
* Время непрерывной работы логгера без замены элемента питания зависит от количества одновременно подключаемых датчиков и периода проведения измерений |
|

L1 – длина кабеля от логгера до разъёма термокосы, м (от 0,5 до 10 м, шаг 0,5 м);
L2 – длина кабеля USB от логгера до разъема USB, м (от 0,5 до 4,5 м, шаг 0,5 м);
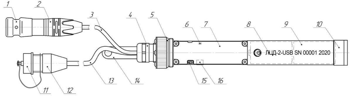
Рис.1. Габаритный чертеж логгера цифровых датчиков ЛЦД-2-USB

1 – защитный колпачок
2 – разъем для подключения термокосы
3 – кабель для подключения термокосы
4 – кабельный ввод
5 – уплотнительное кольцо
6 – светодиод (красный)
7 – защитная крышка платы
8 – маркировка логгера
9 – батарейный отсек
10 – крышка батарейного отсека
11 – защитный колпачок
12 – разъем USB
13 – кабель USB
14 – крепление
15 – кнопка TEST
16 – разъем microUSB
Рис.2. Устройство ЛЦД-2-USB
ПРИМЕР ЗАПИСИ ПРИ ЗАКАЗЕ ЛОГГЕРА:
«Логгер цифровых датчиков ЛЦД - 2 - USB - L1 - L2 МКСН.405544.037 ТУ»
1 2 3 4 5
1. Тип логгера
2. Исполнение логгера
3. L1 - длина кабеля от логгера до разъёма термокосы, м (от 0,5 до 10,0 м, шаг 0,5 м);
4. L2 - длина USB от логгера до USB разъема (от 0,5 до 4,5 м, шаг 0,5 м);
5. Обозначение ТУ
КОМПЛЕКТНОСТЬ:
|
НАИМЕНОВАНИЕ |
КОЛ-ВО |
|
Логгер цифровых датчиков |
1 шт. |
|
Элемент питания SAFT LSH 14 (Li-SOCl2) |
2 шт. |
|
Уплотнительное кольцо 030-033-19-2-2 ГОСТ 9833-73 |
1 шт. |
|
Трос МКСН.303637.001 |
1 шт. |
|
Кабель USB, тип А-micro USB, вилка-вилка, 1,8 м (Бурый медведь) |
1 шт. |
|
Кабель USB, тип А-А, вилка-вилка, 1,5 м (Бурый медведь) |
1 шт. |
|
Руководство по эксплуатации МКСН.405544.037 РЭ |
1 экз. |
|
Паспорт МКСН.405544.037 ПС |
1 экз |
09.06.2025
Сотрудники АО «НПП «Эталон» присоединились к участникам праздника «ВелоОмск — 2025»
Читать подробнее
06.06.2025
АО «НПП «Эталон»: признание от партнеров АО «Медтехника»
Читать подробнее
05.06.2025
АО «НПП «Эталон» принимает участие в научной конференции «Актуальные проблемы и перспективы развития геокриологии» г. Мирный
Читать подробнее