Отзывов:
0
Программное обеспечение на ЛЦД-2-РМ
ОБЛАСТЬ ПРИМЕНЕНИЯ:
• геотехнический мониторинг;
• нефтяная и газовая промышленности;
• машиностроение;
• метеорология;
• строительство;
• энергетика и др
ДОСТОИНСТВА:
• передача данных по радиоканалу;
• увеличение времени работы без замены элемента питания;
• повышенная степень защиты от пыли и воды IP68;
• надежная встроенная flаsh-память
НАЗНАЧЕНИЕ:
Логгер цифровых датчиков ЛЦД-2-RМ (далее – логгер) предназначен:
• для автономного считывания результатов измерений температуры с датчиков температуры многозонных цифровых МЦДТ (далее – термокоса) с заданной периодичностью,
• для хранения результатов измерений и передачи на принимающее устройство.
Логгер может применяться при проведении измерений с целью определения распределения температуры протяженных объектов, трубопроводов, а также грунта.
ЛЦД-2-RМ:
• сохраняет результаты измерений температуры во внутреннюю энергонезависимую память,
• передает данные на ПК по беспроводной связи (радиоканалу).
ЛЦД-2-RМ относится к радиоэлектронным средствам (РЭС), не подлежащим регистрации (полоса радиочастот 433,075-434,79МГц, мощность передатчика не более 10 мВт) согласно п. 23 Приложения к перечню РЭС, подлежащих регистрации Постановления Правительства РФ от 12.10.2021 г № 1800.
УСЛОВИЯ ЭКСПЛУАТАЦИИ:
|
температура воздуха при долговременной эксплуатации, °C |
-40 ... + 40 |
|
относительная влажность воздуха при 35 ºС, % |
80 |
|
ТЕХНИЧЕСКИЕ ХАРАКТЕРИСТИКИ |
ЛЦД-2-RM |
|
Габаритные размеры, мм, не более |
Ø 37 х 278 |
|
Масса логгера, кг, не более |
0,75 |
|
Напряжение питания постоянного тока, В |
7,2 (5,6...7,4) |
|
Ток потребления в режиме ожидания, мкА, не более |
10 |
|
Период проведения измерений (настраивается пользователем), часов |
от 1 до 100 |
|
Количество датчиков в термокосе |
1 ... 100 |
|
Максимальная длина термокосы должна быть, м |
100 |
|
Электрическая емкость термокосы, пФ, не более |
15 000 |
|
Суточный ход часов логгера в нормальных условиях, с/сут, не более |
±10 |
|
Суточный ход часов логгера во всем диапазоне рабочих температур и влажности, с/сут, не более |
±25 |
|
Время непрерывной работы без замены элемента питания*, лет, не менее |
3 |
|
Максимальное количество значений |
65 535 |
|
Запись результатов измерений, интерфейс |
энергонезависимая память, радиоканал, USB порт |
|
Полоса радиочастот ЛЦД-2-RМ, МГц |
433,2...434,6 |
|
Шаг частотных каналов ЛЦД-2-RМ, МГц |
0,2 |
|
Мощность передатчика ЛЦД-2-RМ, мВт, не более |
10 |
|
Дальность передачи данных в прямой видимости, м, не менее |
1 000 |
|
Степень защиты от пыли и воды по ГОСТ 14254-96 |
IР68 |
|
Средняя наработка до отказа, часов |
35 000 |
|
Средний срок службы, лет |
7 |
|
* Время непрерывной работы логгера без замены элемента питания зависит от количества одновременно подключаемых датчиков и периода проведения измерений |
|
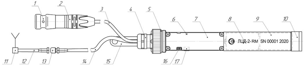
L1 - длина кабеля от логгера до разъёма термокосы, м (от 0,5 до 10,0 м, шаг 0,5 м);
L2 - длина радиочастотного кабеля от логгера до антенного разъема, м (от 0,5 до 10,0 м, шаг 0,5 м);
L3 - длина радиочастотного кабеля антенны, м (от 0,5 до 10,0 м, шаг 0,5 м).
Рекомендуемая суммарная длинна радиочастотного кабеля L2 и L3 не более 12 м
Рис.1. Габаритный чертеж логгера цифровых датчиков ЛЦД-2-RM
1 – защитный колпачок
2 – разъем для подключения термокосы
3 – кабель для подключения термокосы
4 – кабельный ввод
5 – уплотнительное кольцо
6 – светодиод (красный)
7 – защитная крышка платы
8 – маркировка логгера
9 – батарейный отсек
10 – крышка батарейного отсека
11 – антенна
12 – радиочастотный кабель антенны
13 – антенный разъем
14 – радиочастотный кабель логгера
15 – крепление
16 – кнопка TEST
17 – разъем microUSB

ТИПЫ АНТЕНН ДЛЯ ЛЦД-2-RM
Антенны AW-6 UHF подключаются к переходнику USB/РМ МКСН.467141.003 и могут быть установлены на транспортное средство, с помощью магнитного крепления MC-1 UHF, d80 x 755 мм.
Длина радиочастотного кабеля антенны L3=4.5м (см.рис.1)
Антенна Шайба-2 (антивандальная) с врезным креплением на оголовок
Длина радиочастотного кабеля антенны L3 определяется при заказе (см.Пример записи при заказе)
Антенна MR K2 UHF (1200 x 80 x 70 мм) подключается к логгеру ЛЦД-2-РМ и может быть закреплена на мачте, оголовке, обсадной трубе и т.п. в непосредственной близости от термометрической скважины.
Длина радиочастотного кабеля антенны L3 определяется при заказе (см.Пример записи при заказе)
ПРИМЕР ЗАПИСИ ПРИ ЗАКАЗЕ ЛОГГЕРА:
«Логгер цифровых датчиков
ЛЦД-2 - RM - L1- L2 МКСН.405544.037 ТУ»
1 2 3 4 5
1. Тип логгера;
2. Исполнение логгера;
3. L1 - длина кабеля от логгера до разъёма термокосы, м (от 0,5 до 10,0 м, шаг 0,5 м);
4. L2* - длина радиочастотного кабеля от логгера до антенного разъема (от 0,5 до 10,0 м, шаг 0,5 м);
5. Обозначение ТУ.
КОМПЛЕКТНОСТЬ:
|
НАИМЕНОВАНИЕ |
КОЛ-ВО |
ПРИМЕЧАНИЕ |
|
Логгер цифровых датчиков |
1 шт. |
|
|
Элемент питания SAFT LSH 14 (Li-SOCl2) |
2 шт. |
|
|
Уплотнительное кольцо 030-033-19-2-2 ГОСТ 9833-73 |
1 шт. |
|
|
Трос МКСН.303637.001 |
1 шт. |
|
|
Антенна* |
1 шт. |
По отдельной заявке |
|
Кабель USB, тип А-micro USB, вилка-вилка, 1,8 м (Бурый медведь) |
1 шт. |
|
|
Переходник USB/PM МКСН.467141.003 |
1 шт. |
По отдельной заявке |
|
Руководство по эксплуатации МКСН.405544.037 РЭ |
1 экз. |
|
|
Паспорт МКСН.405544.037 ПС |
1 экз. |
|
|
* Тип антенны и длина радиочастотного кабеля антенны (L3 , м) указываются при заказе (см. рис.4) |
||
ПРИМЕР ЗАПИСИ АНТЕННЫ:
Антенна MR K2 UHF, L3 = 2м;
Антенна AW-6 UHF;
Антенна Шайба-2, L3 = 2м.
L3* - длина радиочастотного кабеля антенны.
L3 - от 0,5 до 10,0 м, шаг 0,5 м
У антенны AW-6 UHF дополнительного кабеля нет, длина L3 не указывается.

Рис.4. Длины кабелей логгера
* - Рекомендуемая суммарная длинна радиочастотного кабеля L2 и L3 не более 12 м

09.06.2025
Сотрудники АО «НПП «Эталон» присоединились к участникам праздника «ВелоОмск — 2025»
Читать подробнее
06.06.2025
АО «НПП «Эталон»: признание от партнеров АО «Медтехника»
Читать подробнее
05.06.2025
АО «НПП «Эталон» принимает участие в научной конференции «Актуальные проблемы и перспективы развития геокриологии» г. Мирный
Читать подробнее