Связаться с нами
  • Блоки управления БУ-7
  • Отзывов: 0
    Добавить отзыв
    Блоки управления БУ-7вид сзади
    Блоки управления БУ-7 вид сбоку
    Блоки управления БУ-7
  • предназначен для измерения и поддержания температуры в рабочем пространстве (объеме) средств поверки преобразователей температуры (печей, термостатов и др.), управляя подводимой электрической мощностью.

    Цена и срок изготовления по запросу

      | МКСН.405544.005 РЭ

 

НАЗНАЧЕНИЕ:

БУ-7 предназначен для использования в составе изделий, производства АО "НПП "Эталон".

Блоки управления выпускается в различных исполнениях отличающихся  друг  от  друга  количеством  каналов  регулирования  и  типом  преобразователя температуры (входной сигнал).

 

ФУНКЦИИ, ВЫПОЛНЯЕМЫЕ БУ-7:

  • трех или одно зонное измерение и регулирование по ПИД закону (управление нагревателем) температуры в рабочем пространстве:
  • измерение и регулирование по ПИД закону (управление нагревателем) температуры в рабочем объеме термостатов и печей;
  • управление двигателем для перемешивания жидкости в термостате;
  • отображение результатов измерения на шестиразрядном знаковом индикаторе в °С;
  • установка требуемой температуры с контролем по знаковому индикатору;
  • контроль и отображение неисправностей (обрыв преобразователей температуры, обрыв датчика компенсатора, неисправность узла контроля питания);
  • звуковая сигнализация аварийных ситуаций;
  • связь с персональным компьютером по интерфейсу RS-232;
  • значения уставок сохраняются при выключении БУ-7.

Диапазоны задания уставок регулирования приведены в таблице 1.

 

 УСЛОВИЯ ЭКСПЛУАТАЦИИ:
• температура окружающей среды (20 ± 5)°C;
• относительная влажность воздуха от 30 до 80%;
• атмосферное давление (84 - 106,7) кПа;
• закрытые взрывобезопасные помещения без агрессивных паров и газов, токопроводящей пыли.

 

ТЕХНИЧЕСКИЕ ХАРАКТЕРИСТИКИ

Блок управления БУ-7

-0

-2

-4

-3

-6

-1

-5

-8

-9

-10

-7

-11

Диапазон регулируемых температур, °С

100…1200

300…1600

40…800

25...200

600...1780

Характеристика преобразователя НСХ, W100

ПП (S)

ПР (В)

100П, W100=1,391

ТХА (К)*,

100П

ПР (В)

Диапазон задания уставок регулирования, °С

20…1250

20…1650

0…850

0...250

20...1800

Минимальная дискретность задания значений уставок, °С

0,01

Напряжение управления нагрузкой

220

5

220

5

220

80

220

5

Максимальный ток нагрузки на один канал, А, не более

15

0,01

40

0,01

12

10

20

22

1,5

11

0,01

Максимальный ток нагрузки на изделие, А, не более

40

-

-

20

22

-

* дифференциальная термопара

 

Применяемость в изделиях производства АО «НПП «Эталон» приведена в таблице 3.
 

По отдельной заявке возможно изменение технических характеристик, после дополнительного согласования с разработчиками.
Тел. (3812) 36-99-67

Таблица 2. Эксплуатационные характеристики БУ-7

НАИМЕНОВАНИЕ

ЗНАЧЕНИЕ

Средняя наработка до отказа, ч

25 000

Питание

(220±22) В, частотой (50±1) Гц

Мощность, потребляемая блоком, Вт

22

Габариты, мм, не более

270х100х360

Масса, кг, не более

5

Таблица 3. Применяемость в изделиях

ТИП

ПРИМЕНЯЕМОСТЬ

ПРИМЕЧАНИЕ

БУ-7-0

Базовая модель

3 канала

БУ-7-1

-

3 канала

БУ-7-2

МТП 1200-4, МТП 1200-5, ПРТ 600-1100

3 канала

БУ-7-3

-

3 канала

БУ-7-4

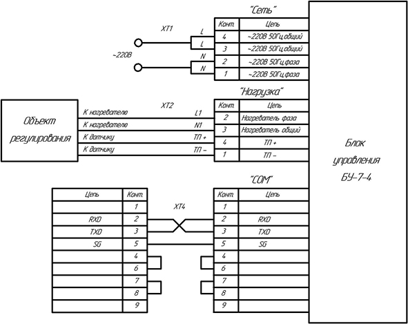
МТП-2МР-50-500, ПШ 1200, МТП-2МР-70-1000, ОП 700-1, АЧТ 45/100/1100

1 канал

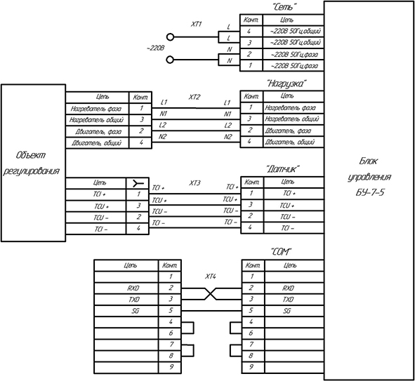
БУ-7-5

ТР-1М-300(500), ТР-1М-В, ТР-1М-У1(У2), ТР-20, АЧТ 165/40/100

1 канал

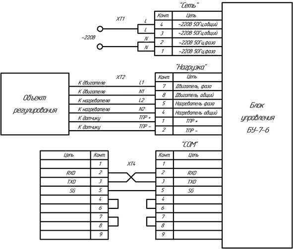
БУ-7-6

ВТП 1600-1

1 канал

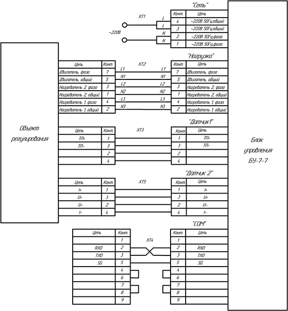
БУ-7-7

УТМ-1

2 канала

БУ-7-8

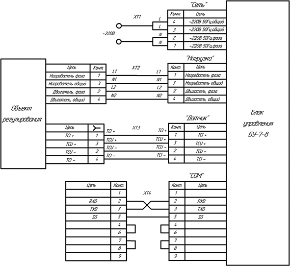
ПЧТ 540/40/100

1 канал

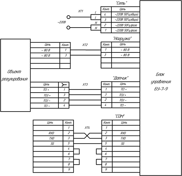
БУ-7-9

КР-190

1 канал

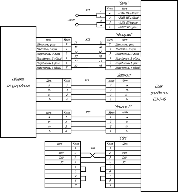
БУ-7-10

ТС 600-2

2 канала

БУ-7-11

ВТП 1800-1

1 канал

БУ-7-0


 

БУ-7-1


 

БУ-7-2


 

БУ-7-3


 

БУ-7-4


 

БУ-7-5


 

БУ-7-6


 

БУ-7-7


 

БУ-7-8


 

БУ-7-9


 

БУ-7-10


 

БУ-7-11

 



Отзывы



ПОРЯДОК ЗАПИСИ ПРИ ЗАКАЗЕ:

«Блок управления БУ-7-0»
«Блок управления БУ-7-4 для МТП-2МР-50-500»


Заказать Блоки управления БУ-7 в ОМСКЕ Для определения стоимости оборудования, комплектности и сроков поставки в г . Омске, пожалуйста, скачайте опросный лист, заполните его и прикрипите к форме заявки.

Специалисты отдела продаж ответят на Ваш запрос в течении одного рабочего дня.
Сделать заказ
Файл с реквизитами: Файл с техническими характеристиками:
CAPTCHA
Оставить отзыв
Прикрепить файл (PDF):
CAPTCHA
Задать вопрос
CAPTCHA